Porsche patents a 6-stroke internal combustion engine
Porsche is working very hard at finding ways to keep combustion engines alive amid the push for electric power

The internal combustion engine is nearing extinction and yet it continues to operate on the same basic four-stroke principle developed in 1832 by German Engineer, Nikolaus Otto. With just a handful of exceptions, almost every internal combustion-powered car operates on a four-stroke engine: intake, compression, power, and exhaust. The intake stroke is where air and fuel come into the cylinder. Compression is when the piston pushes that mixture to the top of the cylinder. The said mixture is ignited, shoving the piston back down for the power stroke. Exhaust is the final step, pushing the remaining gas out of the cylinder.
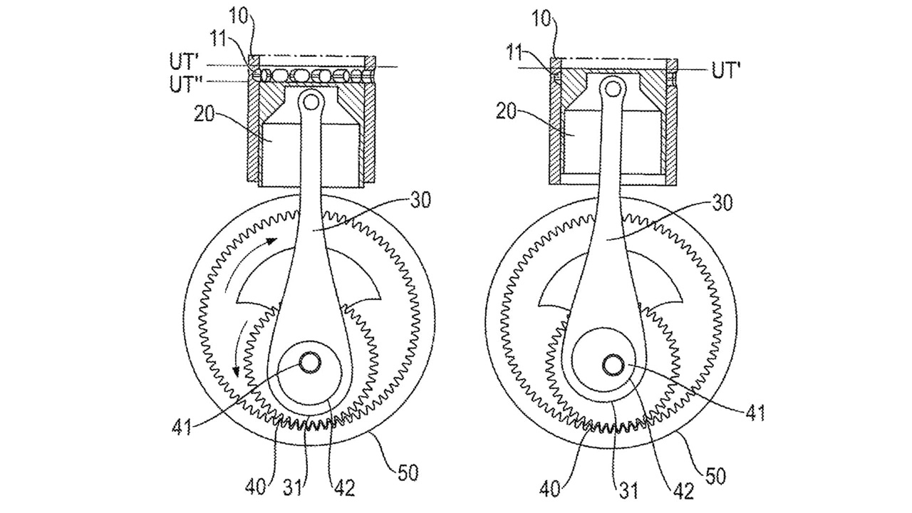
Thinking out of the box, Porsche’s engine designers have been busy trying to add another compression and power stroke to this time-honored process. Documents filed with the US Patent and Trademark Office (USPTO) specifically describe this as "six individual strokes that can be divided into two three-stroke sequences." The added steps would occur between the traditional power and exhaust stroke. The first sequence, then, would be intake-compression-power, followed by compression-power-exhaust.
Porsche designers reckon they can add another compression and power stroke to this process. Documents filed with the USPTO specifically describe this as "six individual strokes that can be divided into two three-stroke sequences." The added steps would occur between the traditional power and exhaust stroke. Unlike the conventional four-stroke cycle, the first sequence would be intake-compression-power, followed by compression-power-exhaust.

It's a bit complicated, but Porsche's patent shows a crankshaft spinning on a ring with two concentric circles—an annulus. This alternates the center point of rotation, effectively lowering the piston's travel (bottom dead center) slightly for the added strokes. This is what changes the compression, since the piston isn't traveling as far up (top-dead-center) in the cylinder. It also means that this engine has two top and bottom dead centers.
Why make matters even more complicated? In short, Porsche believes this design has the potential to generate more power with better efficiency. Here’s the deal, in a typical internal combustion engine, only one stroke in four actually makes power. Porsche’s design alters the formula to one stroke in three, and it also burns up the mixture more thoroughly. Of course, the downside is added complexity. What remains to be seen is whether this will allow the internal combustion engine to generate more power to justify its complex design.
As with many patents, it's possible this could never see the light of day. It's certainly an interesting idea, but perhaps more importantly, it suggests Porsche is working very hard at finding ways to keep combustion engines alive amid the push for electric power.
Source: US Patent and Trademark Office via Motor1
Related Posts

Toyota PH launches T-OPT aftermarket brand at MIAS 2026
Toyota Motor Philippines officially introduces T-OPT, which is their latest premium regional aftermarket parts brand

MIAS 2026: GWM Tank 700 PHEV makes first overseas market debut in PH
The GWM Tank Hi4-Z PHEV arrives in PH just weeks after it debuted in the PRC

BYD “Drive Electric, Love Pinas” campaign sets two Guinness World Records
BYD and Department of Tourism’s “Drive Electric, Love Pinas” campaign makes it to Guinness World Records

Suzuki Philippines expands Laguna pre-delivery inspection facility
The upgrade lets SPH meet demand while upholding global quality standards

MIAS 2026: Geely PH previews EX2 EV to rival BYD Dolphin
Geely previews the EX2 at 2026 Manila International Auto Show; could start at PHP 950K

MIAS 2026: Jaecoo J5 HEV is priced to compete; starts at PHP 999K
OJPH wants to stir the B-SUV market with the J5 HEV